皇冠登一登二登三区别_终身禁止!火箭军倒查九年 揪出采购掮客 围标央企浮出水面
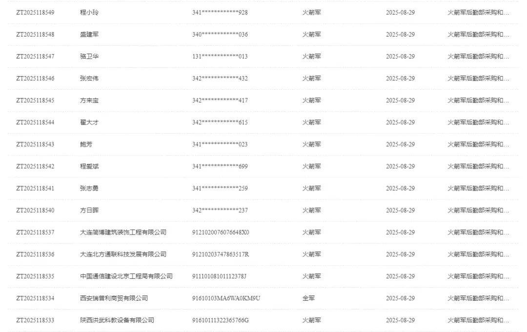
世界杯皇冠足球平台(www.9990088.com)-开会_员出_租平_台,皇冠信用网/—开会员账号—(招登1登2登3(平台出租,8月28日至9月1日,火箭军后勤部采购和资产管理局发布180条公告,宣布终止74位评标专家和116家供应商的资格皇冠登一登二登三区别。这些供应商被停止参与投标军队采购项目的权利,评标专家则失去参与军队项目评审的资格。
评标专家的处罚理由基本都是“评审错误影响评审结果”,记者注意到,这些评标专家涉及的项目年代都很久远,有一位专家是因为在2016年的一个项目中评审错误而失去评标资格皇冠登一登二登三区别。也就是说,采购部门在审核9年前的采购项目,寻找违规案件并对相关人员和企业进行处罚。
还有一些专家的错误就非常严重了,比如有一位专家,他的违规行为被定义成“掮客”皇冠登一登二登三区别。
所谓“掮客”是指既不拥有产品所有权,又不控制产品实物价格以及销售条件,只是在买卖双方交易洽谈中起媒介作用的中间商皇冠登一登二登三区别。本应客观中立评审的专家变成了“掮客”对采购秩序的影响非常恶劣。因此该专家被终身禁止评审军队采购项目,他控股或管理的企业也禁止参加军队采购活动,同时终身禁止他代理其他供应商参加军队采购活动。
而被处罚的供应商中也有央企的身影皇冠登一登二登三区别。该公司具备通信工程施工总承包一级资质、电子与智能化工程专业承包一级资质,参与建设了国家“八横八纵”骨干光缆通信网络、南极科考通信保障等重大工程,并承接多项国家级援外通信建设项目。
军队采购网公告显示,该公司在军队采购项目中存在围标行为,因此自2025年8月29日起暂停其参加火箭军物资工程服务采购活动资格皇冠登一登二登三区别。
某邮政速递物流股份有限公司因投标提供虚假材料而被取消全军采购资格皇冠登一登二登三区别。



猜你喜欢
- 2025-12-15皇冠信用网代理_国米2-0热那亚:控球与射门数据完胜,战术优势显而易见
- 2025-12-15皇冠信用网开通 _瓜迪奥拉创纪录,曼城进攻风暴再掀英超狂潮
- 2025-12-14如何申请皇冠信用網会员 _澳大利亚邦迪海滩枪击事件已致12人死亡 警方称其为恐怖袭击
- 2025-12-14welcome皇冠注册 _演员张山透露何晴病情:她罹患脑癌,还中风了
- 2025-12-14皇冠信用網申请条件 _阿森纳为何在对阵英超最差球队时仍然难以破门?深度解析战术与心理因素
- 2025-12-13NBA比赛 _高市早苗正式道歉!韩国发出强硬驳斥,丑闻还没解决又有燃眉之急,得罪中俄后又激怒韩国?
- 2025-12-13那不勒斯 vs 法兰克福 _湖南娄底市委常委、秘书长谢君毅拟任省直单位正厅级领导职务
- 2025-12-12马德里竞技 vs 圣吉罗斯 _上海月平均工资涨到快2万元了?谁的工资这么高?
- 2025-12-12马赛vs 亚特兰大 _扎哈罗娃:南京大屠杀是日本军国主义野蛮与反人类罪行的象征
- 2025-12-12国际米兰 vs 凯拉特艾马迪 _哈登22+7杜兰特16分 申京22+15火箭险胜快船
- 2025-12-12维多利亚BA vs 国际体育会RS _台湾学者雷倩:中方对高市反应将让美国重估纵容日本的政策
- 2025-12-12皇冠信用网在哪里开通 _男子取走母亲13万存款,在老人生病后还不愿还钱,其兄向法院诉请撤销其监护人资格,法院判了


网友评论