皇冠信用在线开户_37岁男演员于朦胧被传坠楼,7月刚注销工作室,警方回应
时间:2025-09-11 阅读:263
皇冠信用网怎么开户(9990088.com—)开会员号,招代理/条件好/平台出租/招登1登2登3地区代理据中国蓝新闻,9月11日,演员于朦胧冲上热搜,有网友称于朦胧今日在北京坠楼,目前于朦胧方无回应皇冠信用在线开户。

于朦胧主页显示,其上次更新动态是8日前,昨天21:31还上线了微博皇冠信用在线开户。目前,于朦胧方暂无回应。

据三湘都市报,记者联系了北京市朝阳区常营派出所,派出所民警称没有收到相关消息皇冠信用在线开户。

展开全文
于朦胧,1988年6月15日出生于新疆维吾尔自治区乌鲁木齐市,毕业于北京演艺专修学院,中国内地男演员、歌手、MV导演皇冠信用在线开户。

2007年,参加东方卫视选秀娱乐节目《我型我秀》,获得西安站16强皇冠信用在线开户。2010年,参加选秀节目《快乐男声》被选入“快乐天团”候选人;同年,担任丁爽歌曲《61秒》的MV导演。2013年,参加湖南卫视选秀娱乐节目《快乐男声》,获得全国总决赛第十名。2015年,主演的古装穿越剧《太子妃升职记》播出,获得大量关注。代表作品有《三生三世十里桃花》《太子妃升职记》《永夜星河》《一伞烟雨》等。

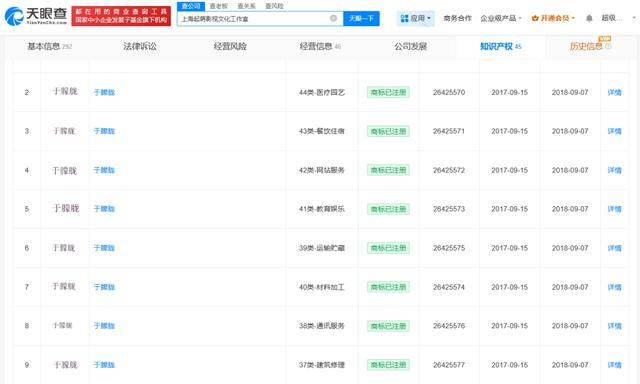
天眼查任职信息显示,于朦胧名下关联2家工作室,分别为上海起萌影视文化工作室、东阳鲜萌影视文化工作室,均为注销状态皇冠信用在线开户。其中,上海起萌影视文化工作室成立于2017年8月,于2024年11月注销,出资额500万人民币,为于朦胧个人独资企业。知识产权信息显示,该工作室已成功注册多枚“于朦胧”商标。此外,东阳鲜萌影视文化工作室成立于2016年9月,于2025年7月注销,出资额0.05万人民币,为于朦胧个人独资企业。




猜你喜欢
- 2025-10-19皇冠登3代理申请 _计划明年1月1日前开放!河北省将新增一博物馆,选址在正定
- 2025-10-19介绍个信用网网址 _曼晚评分:哈兰德奥赖利8分,阿克仅获5分,福登多库赖因德斯6分
- 2025-10-18皇冠信用盘如何申请 _高市早苗对中国台湾态度变了,日本亲华派翻脸
- 2025-10-17皇冠信用盘会员 _泽连斯基:俄罗斯对乌克兰发动“系统性恐怖战”,最近几周每天都在夜袭
- 2025-10-17信用网怎么开户 _终于放心了!辽宁4岁女童走失2天后被找到,救援队:十公里外山沟找到,状态还好
- 2025-10-17hga010怎么开户 _辽宁走失4岁女童40多小时后平安获救,镇长讲述获救情况:在大沟里找到,脸上有擦伤
- 2025-10-17皇冠信用网会员如何申请 _王毅会见瑞典外交大臣:中方愿对瑞典实施免签政策
- 2025-10-17怎么开皇冠信用平台 _曹德旺回应退休:我儿子也55岁了,很优秀,福耀玻璃要成百年老店
- 2025-10-16皇冠信用盘哪里申请 _当手机用上eSIM,会带来哪些连锁反应?| 新京报专栏
- 2025-10-16信用盘如何申请 _“国内第一、全球第二” 中国造示波器实现历史性跨越,性能提升500%
- 2025-10-15皇冠信用網登1 _俄乌在波克罗夫斯克爆发激烈巷战,据报一线官兵存活时间仅数天
- 2025-10-15皇冠信用网去哪里弄 _季前赛-库里28分杨瀚森9+6 勇士再胜开拓者


网友评论